
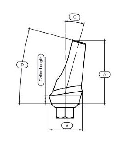
Abutment For Internal Hex Screw Standard - Angle 15, 25, 35, 45 | ||||
---|---|---|---|---|
A | Coliar Length | B | C | D |
9.0 mm
10.0 mm
11.0 mm
12.0 mm
|
1.0 mm
2.0 mm
3.0 mm
4.0 mm
|
4.7 mm | 15° | 15° |